來源:好機友
還記得在以前機哥讀書那會,身邊的大部分人買旗艦手機,最看重的部分主要還是性能。
一般來說,那會搭載高通驍龍處理器的機型,會比較得到市場的歡迎。
然鵝,隨著現在的安卓旗艦都是機均驍龍 888/888+。
核心性能似乎已經從一個最重要的指標,變成了微不足道的基本盤。

那現在對于旗艦手機來說,大家最關注的是什么呢?
從機哥的感覺來看,似乎已經變成了近幾年國產廠商們嚴重內卷——影像。
除了底越來越大的主攝之外,潛望鏡、顯微鏡、微云臺 ... 各種新技術也是層出不窮。
廠商們打得火熱,消費者們也都樂意買單。
就在前幾天,OPPO 不就也整了一場影像溝通會(PPT 技術發布會)。
一連發布了連續光學變焦、五軸運動防抖、RGBW 捕光傳感器、新一代屏下前攝四大影像技術。
嚯,機哥眼瞅著再這樣發展下去。
恐怕過幾年手機廠商的發布會,就該把微單拿出來「吊打」了。

但是,機哥又要說但是咯。
如何在影像能力的同時,也兼顧模組的美觀與體積,似乎也是行業需要面臨的一個問題。
就拿小米 11 Ultra 來說,拍照確實強,但這個模組也總歸有點「嚇人」。

So,抱著對未來手機影像發展的疑問,機哥最近也是扎進了各大廠商的專利庫中,搜尋了一圈。
這一找,還真發現廠商們果然又整了不少新活。
三星可移動相機
這第一個登場的,就是常年位居全球手機銷量第一的星星星。
雖然說,相比起國產的堆料狂魔們,三星這兩年的相機確實有點擠牙膏的嫌疑。
但這并不意味著,他們就沒有在研發新的影像技術。
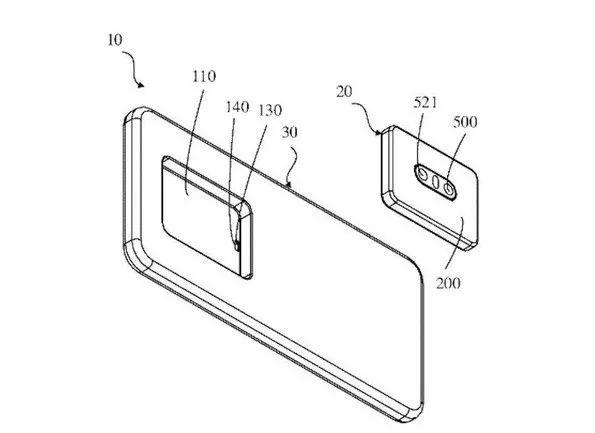
這不,三星于去年申請的一項關于「可移動相機模塊」的專利,就在前幾天得到了公開。

那么啥叫「可移動相機模塊」呢?
機哥仔細盤了一下這個專利介紹,發現三星在手機后背上的主攝、長焦以及超廣角三個鏡頭,都加入了可移動的結構。

隨著這個可移動結構的到來,用戶就可以通過移動模組的位置,來調整相機的光圈大小以及焦距。
光圈和焦距可調整有啥用,相信喜歡攝影的機友應該不陌生吧?
就拿可變光圈來說,不同的大小顯然可以讓手機在面對多種拍攝情況時,都有更出色的表現。
比如,拍攝人像選用大光圈,就一般會有更好的背景虛化效果。

雖說,這手機展開的樣子,確實是有點滑稽。
但看在日常使用還是能縮回去的份上,要是真的量產了,機哥還真有一點點期待最終的效果。
看起來似乎有助于提升手機的拍攝水平,還能減少不必要的鏡頭數量。
難不成,會是雙廚狂喜?

vivo 升降式后置相機
看完了國際藍廠,再來看看國產藍廠的。
vivo 作為近幾年,在手機影像上一直有所創新的廠商之一。
機哥同樣也在他們的專利庫里,找到了不少新(qi)奇(pa)的設計。

比如前段時間,vivo 就向世界知識產權局提交了一項,名為「相機模塊、電子設備和相機模塊控制方法」的專利。
名字有點長,簡單總結下其實就是——升降式后置鏡頭。

看清楚了噢,不是升降前攝,是升降后攝。
從該專利的介紹來看,這個升降式的結構內置的是長焦鏡頭。
就是這個看起來跟梯形一樣的結構,其實每一格都內置了一個焦段的鏡頭。
而隨著滑出的格數越多,可實現的變焦范圍也會越大。

雖然專利中,并沒有明確指出每一格的變焦數據。
但機哥估計,應該是類似于 10X、20X、30X... 這樣的遞進關系。
此外基于專利中的設計,喜歡搞事情的外媒 LetsgoDigital,也做出了一組真機渲染圖。
吶,差不多應該就是這個樣子:

由于每個焦段,都由一個獨立的鏡頭來實現。
所以咯,論成像效果的話,應該會比目前的潛望式長焦強上不少。
不過這個設計,emmm... 老俄羅斯套娃了。

不知道機友們還記不記得,其實全球首款升降式前攝手機,就是 vivo 在 2018 年推出的 vivo NEX。
難道,這回 vivo 又要做第一個吃螃蟹的廠商?
小米可移動相機
除了三星和 vivo,在相機設計上一向也喜歡整活的小米,同樣在這方面有不少建樹。
早在去年的這個時候,小米就有一項名為「相機模組和終端」的專利,得到了公開。

總體來說,小米的思路跟三星有那么億點點相似的地方,都是用上了可移動的模組設計。
不同的是小米這個專利,主要是為了提升超廣角廣度,以及解決容易畸變的問題。

說到手機上的超廣角鏡頭,幾乎現在都是一家一個風格。
就拿今年發布的旗艦手機來說,超廣角夠廣的,一般都畸變比較嚴重。
而畸變控制比較好的,又視野都普遍比較窄。
So,或許通過這種可移動的設計,會是一個能兼顧廣視野 + 高質量的方式。

同樣的,外媒 LetsgoDigital 也根據小米的這份專利,設計了一組渲染圖。
手機內部內置了一個開啟和關閉移動的開關,開啟之前鏡頭模組與手機平整一體,完全沒有任何凸起。
開啟之后,兩顆鏡頭會微微翹起,形成一個三角形的樣子。

效果好不好機哥不確定,但這個設計,確定不是來源于某種雙面電動剃須刀?
不能說非常相似,只能說一模一樣 ......

除了以上提到的這些,機哥還發現,像華為、OPPO 等廠商還都申請過「可拆卸鏡頭」的專利。
需要拍照時把鏡頭裝上,不需要的時候可以直接拆下來。
說到底,也都是為了在保證出色成像表現的前提下,能盡量減少模組的占用面積。
(OPPO 可拆卸鏡頭專利演示圖)
雖然說,此類作為專利演示的機型,可能并不一定會得到量產。
但是咯,在這個手機影像發展如此之快的時代中,類似的技術還真不一定就是單純的「占坑」。
說不定,像以上這種可移動相機、可拆卸鏡頭的設計,真會在某一天被主流的廠商帶到主打機型上。
畢竟說到可拆卸鏡頭,當年的 Moto 模塊化手機,可早就安排上了。

在機哥看來,摩托羅拉之所以當時沒能成功。
有一方面的因素是售價太貴,當然也有一方面是,摩托羅拉這個品牌本身已經淪為小眾的緣故。
要是換成,現在主流的華米 OV 三星蘋果來做這件事。
說不定,還真有點搞頭?








