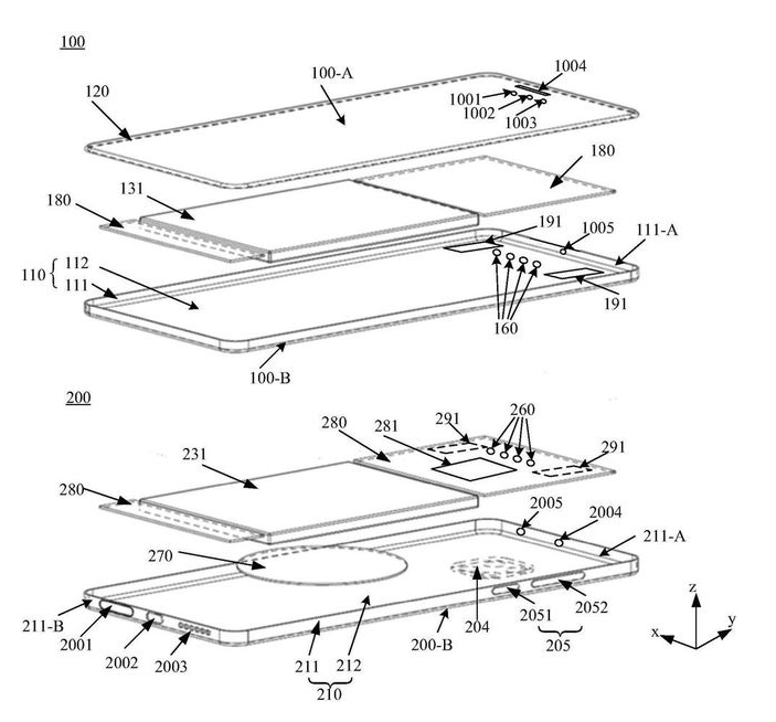
萬物互聯!華為在17號公開了可分離移動終端專利:屏幕與主機可拆卸、可合體。申請的日期是2020年9月,看來在冰點的日子里華為也一直在積極自救。
官方的專利摘要是這樣的:本申請提供了可分離的移動終端,包括屏幕組件和與屏幕組件可拆卸連接的主機組件,在屏幕組件和主機組件合為一體時,屏幕組件的外表面可與主機組件接觸。屏幕組件是便于和用戶交互的部件,主機組件包括用于提供通話功能且重量較重的移動通信模塊,相比于現有的一體化設計的移動終端,移動終端的重量較重的移動通信模塊設置在主機組件中,屏幕組件的重量大大減輕。
說人話是啥呢?就是屏幕和主機組合在一起就是我們現在手機的樣子,嫌手機太重就可以把主機拆下來只拿著屏幕一層。理論存在,只要整的花活夠得勁兒完全是可以把手機當成樂高來拼嘛!
有家人可能會說了:欸,我拆開干嘛,一個不是挺好的,兩個不是累贅?大哥你仔細想想,帶一塊玻璃和帶一塊磚它哪個更重些?現在主流的手機芯片7nm、5nm,甚至3nm制程工藝要都要來了。而把它拆分開既滿足了用戶情報的需求,另一方面我處理器厚一點就沒關系了嘛!在麒麟如此受制的情況下這不失為一個圍魏救趙的好方法。
既然分離了,主機完全就可以像臺式機搭配不同的顯示器。手機主機不但可以連接原裝的屏幕組件,其實完全還可以連接任何顯示器,比如華為自家的MateView專業顯示器,或者其它任何標準的顯示屏幕。啥叫萬物互聯啊!就是我帶一手機能連接全世界啊!(后仰)






